中央空调管道专用系列

768电动二通阀(江森款)

技术规范:

公称压力:PN1.6MPa
工作介质:冷水、热水
工作温度:-2℃≤t≤95℃
电源电压:24VAC、110VAC、220VAC
管螺纹标准:符合ISO228标准

产品详情

image.png

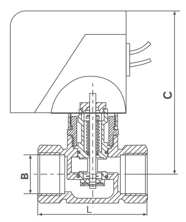
DN(mm)NPS(in)连接螺纹
Connection thread
LBC
151 /2RP1/2"5819.1100
203/4RP3/4"6724104.5
251RP1"9030.5109.5