Special for water supply company

720Brass Filter Type Pressure Reducing Valve(Y12X-16T)
Technical parameters:
Nominal pressure:PN1.6MPa
Working Medium:Water7
Working Temperature:0℃
adjusted in the range of 0.15-0.45MPa
Factory set outlet pressure:0.3MPa
Pipe thread conform to IS0 228(GB/T7307)

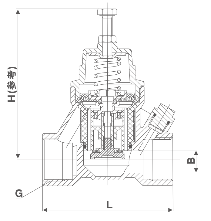
| DN | 15 | 20 | 25 | 32 | 40 | 50 | ||
| SIZE | 1/2 | 3/4 | 1 | 11 /4 | 11 /2 | 2 | ||
| H(参考) | 91 | 91 | 119 | 138 | 138 | 157 | ||
| L | 78 | 78 | 94 | 125 | 125 | 145 | ||
| B | 14 | 14 | 16 | 26 | 26 | 32 | ||